PL RU EN

Модель FL-10

Вы можете заполнить опросный лист, а мы
подберем для Вас необходимые комплектующие

 Материал изготовления

Корпус                                 Оцинкованная сталь S355, порошковая окраска
  Корпус RAL 7012
  Крепление ролика RAL 1021
  Седло RAL 5010
  Возможно изготовление из нержавеющей или кислостойкой стали
Ролики Полиамид
Подшипник Шариковый
Ось ролика Сталь оцинкованная
Болтовые соединения Метрическая система
Уплотнитель Резина EPDM
Заглушки     ПВХ
Седло Полиамид, сталь оцинкованная

 

 Техническая характеристика

Максимальная нагрузка 20 кг           
Скорость передвижения 50 м/мин
Рабочая температура от -30°С и выше. возможно от -40°С и ниже                    
Мин. размер балки 80

 

  Внимание !!!
Компания RM International Group Sp. o.o. оставляет за собой право вносить изменения в дизайн любого элемента.

Вид:
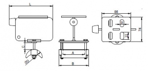
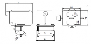
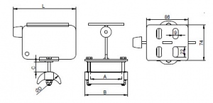
4001.10.25.1000  Тележка
4001.10.25.1000 Тележка
  • Тип - CT-FL10-130x89x50P-38
  • Размеры:  A - 65 mm
                      B - 89 mm
                      C - 25 mm
                      D - 50 mm
                      L - 130 mm
  • Вес (кг/шт) - 1,19
4001.10.25.1000 wozek kablowy rysunek
+ Показать детальное описание
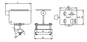
4002.10.25.1000  Тележка
4002.10.25.1000 Тележка
  • Тип - CT-FL10-130x89x50-38
  • Размеры:  A - 65 mm
                      B - 85 mm
                      C - 25 mm
                      D - 50 mm
                      L - 130 mm
  • Вес (кг/шт) - 1,28
10-1
+ Показать детальное описание
4003.10.25.1000  Тележка
4003.10.25.1000 Тележка
  • Тип - CT-FL10-130x85x80-38
  • Размеры:  A - 65 mm
                      B - 85 mm
                      C - 25 mm
                      D - 80 mm
                      L - 130 mm
  • Вес (кг/шт) - 1,62
10-1
+ Показать детальное описание
4004.10.35.1000  Тележка
4004.10.35.1000 Тележка
  • Тип - CT-FL10-170x85x100-38
  • Размеры:  A - 65 mm
                      B - 85 mm
                      C - 35 mm
                      D - 100 mm
                      L - 170 mm
  • Вес (кг/шт) - 1,93
10-1
+ Показать детальное описание
4005.10.25.1000  Тележка
4005.10.25.1000 Тележка
  • Тип - CT-FL10-170x85x120-38
  • Размеры:  A - 65 mm
                      B - 85 mm
                      C - 25 mm
                      D - 120 mm
                      L - 170 mm
  • Вес (кг/шт) - 2,33
10-1
+ Показать детальное описание
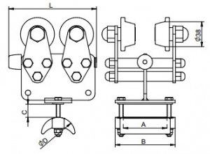
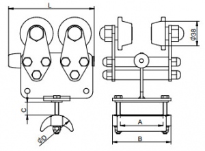
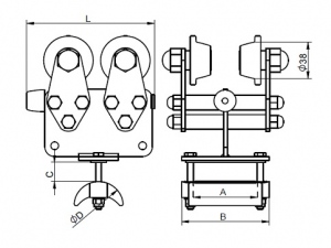
4001.11.25.1000  Поводковая тележка
4001.11.25.1000 Поводковая тележка
  • Тип - CTT-FL10-130x89x50P-38
  • Размеры:  A - 65 mm
                      B - 89 mm
                      C - 25 mm
                      D - 50 mm
                      L - 130 mm
  • Вес (кг/шт) - 1,35
11-1
+ Показать детальное описание
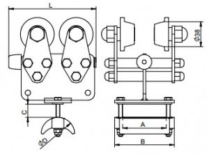
4002.11.25.1000  Поводковая тележка
4002.11.25.1000 Поводковая тележка
  • Тип - CTT-FL10-130x89x50-38
  • Размеры:  A - 65 mm
                      B - 85 mm
                      C - 25 mm
                      D - 50 mm
                      L - 130 mm
  • Вес (кг/шт) - 1,44
11-1
+ Показать детальное описание
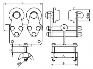
4003.11.25.1000  Поводковая тележка
4003.11.25.1000 Поводковая тележка
  • Тип - CTT-FL10-130x85x80-38
  • Размеры:  A - 65 mm
                      B - 85 mm
                      C - 25 mm
                      D - 80 mm
                      L - 130 mm
  • Вес (кг/шт) - 1,75
11-1
+ Показать детальное описание
4004.11.35.1000  Поводковая тележка
4004.11.35.1000 Поводковая тележка
  • Тип - CTT-FL10-170x85x100-38
  • Размеры:  A - 65 mm
                      B - 85 mm
                      C - 35 mm
                      D - 100 mm
                      L - 170 mm
  • Вес (кг/шт) - 2,2
11-1
+ Показать детальное описание
4005.11.25.1000  Поводковая тележка
4005.11.25.1000 Поводковая тележка
  • Тип - CTT-FL10-170x85x120-38
  • Размеры:  A - 65 mm
                      B - 85 mm
                      C - 25 mm
                      D - 120 mm
                      L - 170 mm
  • Вес (кг/шт) - 2,6
11-1
+ Показать детальное описание
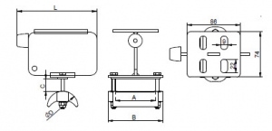
4001.12.25.0000  Концевой зажим
4001.12.25.0000 Концевой зажим
  • Тип - CTE-FL10-130x89x50P-00
  • Размеры:  A - 65 mm
                      B - 85 mm
                      C - 25 mm
                      D - 50 mm
                      L - 130 mm
  • Вес (кг/шт) - 0,46
12-1
+ Показать детальное описание
4002.12.25.0000  Концевой зажим
4002.12.25.0000 Концевой зажим
  • Тип - CTE-FL10-130x89x50-00
  • Размеры:  A - 65 mm
                      B - 85 mm
                      C - 25 mm
                      D - 50 mm
                      L - 130 mm
  • Вес (кг/шт) - 0,56
12-1
+ Показать детальное описание
4003.12.25.0000  Концевой зажим
4003.12.25.0000 Концевой зажим
  • Тип - CTE-FL10-130x85x80-00
  • Размеры:  A - 65 mm
                      B - 85 mm
                      C - 25 mm
                      D - 80 mm
                      L - 130 mm
  • Вес (кг/шт) - 0,76
12-1
+ Показать детальное описание
4004.12.35.0000  Концевой зажим
4004.12.35.0000 Концевой зажим
  • Тип - CTE-FL10-170x85x100-00
  • Размеры:  A - 65 mm
                      B - 85 mm
                      C - 35 mm
                      D - 100 mm
                      L - 170 mm
  • Вес (кг/шт) - 1,12
12-1
+ Показать детальное описание
4005.12.25.0000  Концевой зажим
4005.12.25.0000 Концевой зажим
  • Тип - CTE-FL10-170x85x120-00
  • Размеры:  A - 65 mm
                      B - 85 mm
                      C - 25 mm
                      D - 120 mm
                      L - 170 mm
  • Вес (кг/шт) - 1,52
12-1
+ Показать детальное описание